<sub id="c4y6f"></sub>
      <abbr id="c4y6f"><ruby id="c4y6f"><ins id="c4y6f"></ins></ruby></abbr>

      1. <noframes id="c4y6f">

        1. 產品類別
          環(huán)保除塵設備除鐵器磁選機系列電磁、電機振動給料機系列破碎機無負壓變頻自動給水成套設備自動化配料計量系列備品備件
          歡迎您與我們聯系,與我們合作! 查看更多

          咨詢熱線:
          13780887192

          產品展示 當前位置:首頁 > 產品展示

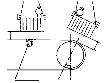
          RCDA系列懸掛風冷式電磁除鐵

          RCDA系列懸掛風冷式電磁除鐵.jpg


          RCDA系列懸掛風冷式電磁除鐵器2.gif

          RCDA系列懸掛風冷式電磁除鐵 2018-2-28 本文被閱讀 4095 次
          下一條:GJT-2F系列金屬探測儀上一條:RCDC(D、F)系列自卸式電磁

          猜你喜歡

          山東華聯科技有限公司版權所有 CopyRight
              <sub id="c4y6f"></sub>
              <abbr id="c4y6f"><ruby id="c4y6f"><ins id="c4y6f"></ins></ruby></abbr>

              1. <noframes id="c4y6f">